每年的3月15日都是所有企业如临大考的日子,汽车行业也不例外。即便不是每一个车企领导都守在电视机旁观看315晚会,但是相信也没有什么举办其他活动的心思。毕竟自家汽车投诉万一不幸上榜,就需要第一时间向社会发出反馈,更需要一系列的安抚、召回等动作,整个企业为此忙的人仰马翻都有可能。这也是为什么一年365天,3月15日是少数几个没有新车上市的日子。

不过这种惯例如今可能要打破了,吉利旗下热销SUV——新款博越决定在今年3月15日举办上市活动,而且具体时间与315晚会一样选择在了晚上。难道吉利博越就不担心登上315晚会吗?
与315晚会“打擂台” 吉利博越不担心上榜吗?
能够在3月15日举办上市活动,并与315晚会同时间“打擂台”,这样的迥异常人的表现无疑代表了吉利博越自身具有的底气。但是吉利博越真的不担心上榜吗?车主对它都没有任何投诉吗?
那必然是不可能的。

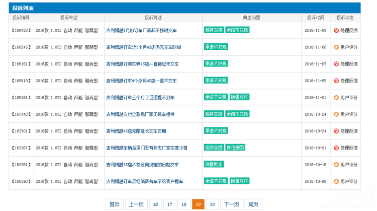
正所谓“人无完人,车无完车。”吉利博越不仅有投诉,而且相关投诉还在与日俱增。仅仅在汽车投诉网站车质网上,关于吉利博越的投诉就达到了200多条。目前车主投诉的问题,主要是变速箱异响、发动机抖动等问题,而导航设计缺陷也是投诉热点。此外,在吉利博越上市之初,不少车主还投诉过吉利博越无法按时交车、承诺不及时兑现。

纵观吉利博越在车质网上的投诉,除了早期受限于产能不足的问题,导致无法按时交车招致的投诉。吉利博越的质量问题,主要集中在变速箱异常和发动机抖动上。这些问题的确影响了吉利博越车主的日常使用,但是在2018年或许这些真的不能算什么事情了——毕竟本田CR-V都免费“送”机油了。
本田“送”机油、海外收购扬国威 是吉利的底气

或许包括吉利在内的众多车企,真的要在2018年感谢本田CR-V的杰出贡献。正是由于其“机油异常增多”问题的爆发以及其后失败的召回,导致大批车主不满,并引发了国家质检总局的约谈,最终落得这一系列举动吸引了舆论集体关注的目光,可谓是举国关注。而目前人们普遍认为CR-V必上今年的315晚会,即便不上,其他车企估计也不会因为发动机问题上榜。

此外吉利自身的底气,还在于这两年时间不断的海外收购,不仅大幅度扩充了实力,而且扬我国威。尤其是耗资90多亿美元收购德国奔驰母公司戴姆勒股份,并成为其第一大股东,让不少国人与有荣焉。而315晚会在很多人看来并不是一场质量问题的晚会,而是涉及到政治、经济发展等方方面面的晚会,要不然当年的一汽大众的速腾断轴事件也不会没登上315晚会投诉榜单了。而在海外收购频频,又在2017年夺得销量最高自主汽车品牌的吉利汽车,怎么会因为吉利博越一些投诉登上315晚会呢?恐怕那些投诉博越问题的车主们自己都不会信。
你觉得呢?